
数脉API 社保卡OCR识别接口调用
2026-01-08

一、接口名称
二、接口介绍
可精准识别社保卡上的文字信息,包括社保卡卡号、社会保障号码、签发日期、持卡人姓名、有效期限、绑定的银行卡号等信息。
三、API接口文档
1. 请求地址
url:https://api.shumaidata.com/v4/social_security_card/ocr
请求方式 method:post
参数:

2. 签名算法说明
服务商分配的appid、当前时间毫秒数timestamp、商户分配的app_security、 三者通过&符号拼接成字符串进行md5加密得到。
如:appid=xyzxyzxyz,timestamp=1555378976238,app_security=efcefcefcefcefc ;
拼接后的字符串:str=xyzxyzxyz&1555378976238&efcefcefcefcefc ;
加密后得到sign = md5(str) = 4e7e1974b79f3656aeaf03f1158f5d5d ;
3. 正确返回示例
{
"msg": "成功",
"success": true,
"code": 200,
"data": {
"order_no": "54oxd603evd9l4omrz",
"words_result": {
"card_number": "A87575***",
"issue_date": "2019年**月",
"bank_card_number": "62310500351*****",
"birth_date": "",
"expiry_date": "",
"sex": "",
"name": "范**",
"social_security_number": "4301241987042*****"
},
"direction": "0"
}
}
4. 错误返回示例
{
"msg": "入参错误",
"success": false,
"code": 400,
"data": { }
}
5. 返回字段说明

6. data字段结构

7. words_result字段结构

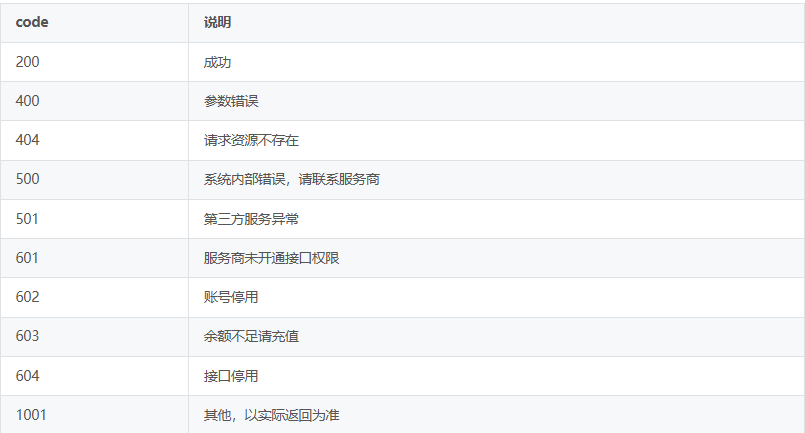
8. Code错误码说明

四、适用场景
政务核验:自动识别社保卡、身份证,快速完成身份与资格认证。
医保报销:自动读取医疗票据信息,智能初审,加快报销速度。
医院结算:患者持卡即可快速完成挂号、缴费、结算,减少排队。
商保理赔:快速提取就诊与费用信息,辅助商业保险理赔审核。
养老认证:线上识别证件,帮助老年人便捷完成社保待遇资格认证。
五、相关接口推荐
更多API接口调用:https://www.shumaiapi.com/product
相关资讯
2025-11-26
2023-04-03
2025-08-19
2021-03-19
2025-12-19
2025-07-15
2025-12-03
2021-05-31
2021-11-05
2025-10-22