
数脉API 商标注册证OCR识别接口调用
2026-02-11

一、接口名称
二、接口介绍
商标注册证OCR识别接口,基于业界领先算法模型,可精准识别商标注册证上的文字信息,包括注册证号、核定使用商品/服务项目(商标分类)、注册人、注册日期等字段,识别准确率高,服务稳定。
三、API接口文档
1. 请求地址
url:https://api.shumaidata.com/v4/recognize_trade_mark_certification/ocr
请求方式 method:post
参数:

2. 签名算法说明
服务商分配的appid、当前时间毫秒数timestamp、商户分配的app_security、 三者通过&符号拼接成字符串进行md5加密得到。
如:appid=xyzxyzxyz,timestamp=1555378976238,app_security=efcefcefcefcefc ;
拼接后的字符串:str=xyzxyzxyz&1555378976238&efcefcefcefcefc ;
加密后得到sign = md5(str) = 4e7e1974b79f3656aeaf03f1158f5d5d ;
3. 正确返回示例
{
"msg": "成功",
"success": true,
"code": 200,
"data": {
"order_no": "th20p1z88v8av6cnis",
"registeredAddress": "天津空港物流加工区外环****室",
"certificateNumber": "2C3917***2C",
"registrationDate": "",
"approvedRightScope": "(第43类)",
"registrant": "阿里***团队",
"trademarkName": "读光识字",
"iprNumber": "39**39",
"validToDate": ""
}
}
4. 错误返回示例
{
"msg": "入参错误",
"success": false,
"code": 400,
"data": { }
}
5. 返回字段说明

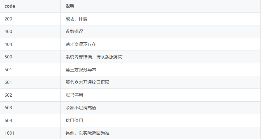
6. Code错误码说明

四、相关接口推荐
更多API接口调用:https://www.shumaiapi.com/product
相关资讯
2021-10-13
2023-05-04
2021-09-02
2021-11-15
2022-06-17
2024-08-23
2023-12-28
2021-11-08
2025-07-15
2025-12-18