
数脉API 限制高消费核查接口调用
2026-03-10

一、接口名称
限制高消费核查接口
二、接口介绍
限制高消费核查接口,可通过企业名称、注册号、统一信用代码任意一项查询企业被限制高消费人员信息,查询返回案号、关联对象、立案日期、限制令对象、原文链接等信息。常用于商务合作、商业调查、政务核查等场景。
三、API接口文档
1.
请求地址url:https://api.shumaidata.com/v4/sumptuary/query
请求方式 method:get/post
参数:

2. 签名算法说明
服务商分配的appid、当前时间毫秒数timestamp、商户分配的app_security、 三者通过&符号拼接成字符串进行md5加密得到。
如:appid=xyzxyzxyz,timestamp=1555378976238,app_security=efcefcefcefcefc ;
拼接后的字符串:str=xyzxyzxyz&1555378976238&efcefcefcefcefc ;
加密后得到sign = md5(str) = 4e7e1974b79f3656aeaf03f1158f5d5d ;
3. 正确返回示例
{
"msg": "成功",
"success": true,
"code": 200,
"data": {
"orderNo": "257024399053344383",
"total": 1,
"items": [
{
"Id": 941684712,
"CaseNo": "(2023)粤0305执恢1221号",
"PersonName": "刘延峰",
"JudgeDate": "2023-07-20",
"KeyNo": "9b439914b25e9ca7a31d28558ba7ed75",
"CompanyName": "乐视网信息技术(北京)股份有限公司",
"PersonId": null,
"Sex": "男性",
"CardNum": "911100007693890511",
"FileUrl": "http://zxgk.court.gov.cn/xglfile/2580/2023-08-24/38b321ddf3924cd8a8b2b39a4198f2e8.pdf"
}
]
}
}
4. 错误返回示例
{
"msg": "入参错误",
"success": false,
"code": 400,
"data": { }
}
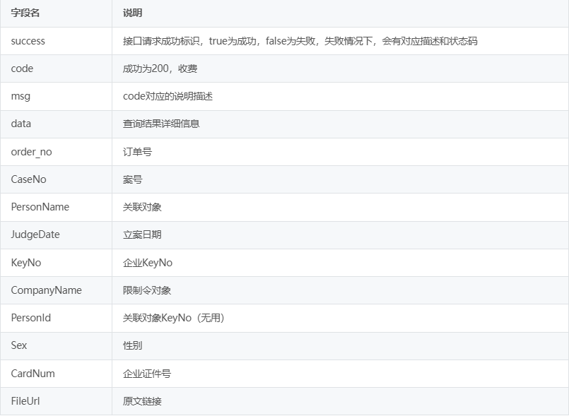
5. 返回字段说明

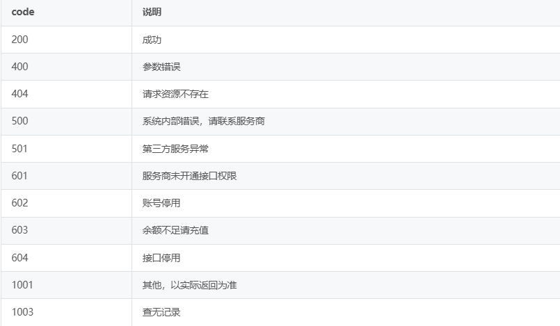
6. Code错误码说明

四、相关接口推荐
企业经营异常查询:可通过公司名称、注册号、社会统一信用代码,核查企业经营异常情况,判断企业是否有列入经营异常的情况,包括列入经营异常原因、列入日期、移出经营异常原因、移出日期等工商异常数据。
企业动产抵押核查:可根据公司名称、注册号、组织机构代码、社会统一信用代码查询企业信息,核查企业是否存在动产抵押信息,助力风险管控。返回包括但不限于登记信息、抵押物详细信息、抵押权人信息、被担保债权情况、债务人履行债务期限等信息。
企业信用评级查询:可通过公司名称、注册号或社会统一信用代码任一项,查询企业信用评级信息,包括评级展望、评级时间、评级公司、债券信用等级、主体等级等。
更多API接口调用:https://www.shumaiapi.com/product
相关资讯
2026-03-05
2025-06-26
2026-01-22
2022-01-06
2021-11-04
2021-05-11
2021-06-18
2025-09-18
2021-04-06
2024-06-28