
数脉API 银行开户许可证OCR识别接口调用
2026-01-13

一、接口名称
二、接口介绍
[银行开户许可证OCR识别接口],可 快速精准的识别银行开户许可证中的账号、法定代表人、开户银行、核准号、企业名称、编号等关键信息。
三、API接口文档
1. 请求地址 url:https://api.shumaidata.com/v4/recognize_bank_account_license/ocr
请求方式 method:post
参数

2. 签名算法说明
服务商分配的appid、当前时间毫秒数timestamp、商户分配的app_security、 三者通过&符号拼接成字符串进行md5加密得到。
如:appid=xyzxyzxyz,timestamp=1555378976238,app_security=efcefcefcefcefc ;
拼接后的字符串:str=xyzxyzxyz&1555378976238&efcefcefcefcefc ;
加密后得到sign = md5(str) = 4e7e1974b79f3656aeaf03f1158f5d5d ;
3. 正确返回示例
{
"msg": "成功",
"success": true,
"code": 200,
"data": {
"bankAccount": "191003012001000***7",
"order_no": "6g6bw0rkrpvrdkyohm",
"legalRepresentative": "魏*平",
"permitNumber": "",
"approvalNumber": "16530005867***",
"title": "开户许可证",
"depositaryBank": "重庆农村商业银行股份有限公司昌支行西大街***",
"customerName": "重庆瑞丰钢化玻璃******"
}
}
4. 错误返回示例
{
"msg": "入参错误",
"success": false,
"code": 400,
"data": { }
}
5. 返回字段说明

6. 结构化信息(data 字段)

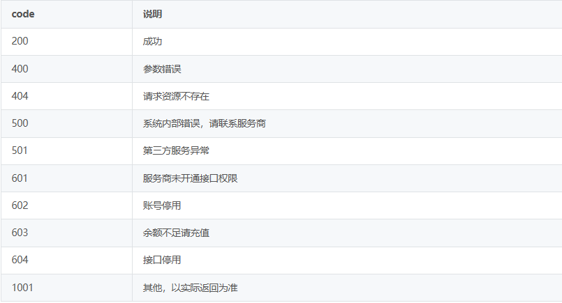
7. Code错误码说明

四、适用场景
1. 企业开户与资料预审:在企业通过线上或移动端办理银行开户业务时,客户只需拍摄或上传许可证图片,接口便可自动、准确地提取账号、开户银行、企业名称、法定代表人等关键字段,替代手动录入,大幅提升办理速度和客户体验。
2. 银行内部审核与风控:银行工作人员利用该接口快速完成开户资料的电子化录入。提取出的结构化数据能直接用于与工商信息、法人身份证等进行自动比对核验,辅助人工审核,提升效率和准确率,帮助控制操作与合规风险。
3. 对公业务档案管理:识别出的结构化数据(如核准号、编号等)可直接存入银行数据库,实现开户许可证信息的数字化归档,便于后续的查询、统计与分析,为账户管理和审计工作提供便利。
更多API接口调用:https://www.shumaiapi.com/product
相关资讯
2024-11-22
2025-03-18
2025-05-16
2024-10-25
2025-12-31
2021-12-14
2021-11-29
2021-05-20
2023-04-24
2025-09-19