
数脉API 不动产证OCR识别接口调用
2026-01-16

一、接口名称
二、接口介绍
不动产证明OCR识别接口,可识别不动产证图像上的文字信息,适用于各地不同的不动产证和房产证结构化信息OCR识别。
三、API接口文档
1. 请求地址url:https://api.shumaidata.com/v4/recognize_estate_certification/ocr
请求方式 method:post
参数:

2. 签名算法说明
服务商分配的appid、当前时间毫秒数timestamp、商户分配的app_security、 三者通过&符号拼接成字符串进行md5加密得到。
如:appid=xyzxyzxyz,timestamp=1555378976238,app_security=efcefcefcefcefc ;
拼接后的字符串:str=xyzxyzxyz&1555378976238&efcefcefcefcefc ;
加密后得到sign = md5(str) = 4e7e1974b79f3656aeaf03f1158f5d5d ;
3. 正确返回示例
{
"msg": "成功",
"success": true,
"code": 200,
"data": {
"area": "土地使用权面积:4.1m²/房屋建筑面积:23.73m²",
"order_no": "vesn47596ncu9l7wt0",
"obligee": "辛***",
"usage": "城镇住宅用地/其它",
"unitNumber": "36073101****00020232",
"buildingArea": "23.73",
"rightProperty": "出让/市场化商品房",
"rightType": "国有建设用地使用权/房屋(构筑物)所有权",
"certificateNumber": "赣(2017)于都县不动产权第****号",
"mutualOwnershipState": "共同共有",
"location": "于都县贡江****嘉园",
"serviceLife": "2008年06月01日起2058年06月01日止",
"otherState": "共有宗地面积:5611.07m²专有建筑面积:23.12m²,分摊建筑面积:0.61m²房屋结构:钢筋混凝土结构房屋总层数:6,房屋所在层:1房屋竣工时间:2015年12月31日持证方式:共同持证持证人:辛***",
"zKey": "赣(2017)于都县不动产权第****号"
}
}
4. 错误返回示例
{
"msg": "入参错误",
"success": false,
"code": 400,
"data": { }
}
5. 返回字段说明

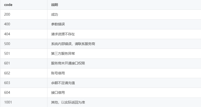
6. Code错误码说明

更多接口调用:https://www.shumaiapi.com/product
相关资讯
2025-08-07
2025-05-20
2024-09-14
2025-03-26
2024-08-02
2024-07-19
2025-05-08
2023-11-17
2021-08-31
2025-06-18